Hammers

Product Range

first_pro

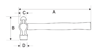
Hammer with Handle

Partially Hardened up to 55 - 58 HRC on Striking surfaces needed as functional requirements for all types of hammers.

Drop forged from high grade carbon steel.Phosphated and painted to provide anti rusting properties.Handle made from high quality axle wood and fixed firmly to hammer head, which does not come out even after long rough use.

  • Hammer with Handle
    PROD. NO A B C D WT. GMS
    WH 110 B* 260 64 18 20 170
    WH 200 B/C 300 BO 20 25 325
    WH 340 B* 315 90 26 28 425
    WH 500 B/C 330 105 25 30 710
    WH 600 B* 375 110 30 35 815
    WH 800 B/C 375 120 32 40 1050
    * Available in Ball Pein & Cross Pein
first_pro

Claw Hammer with Handle

  • Claw Hammer with Handle
    PROD. NO A B ΘC WT. GMS
    CH 340 350 120 28 510
    CLH 450 310 127 27 620
    *Only Available in Ball Pein
first_pro

Machinist Hammer with Handle

  • Machinist Hammer with Handle
    PROD. NO A B ΘC WT. GMS
    MH 100 260 85 15 160
    MH 200 280 95 19 270
    MH 300 300 105 22 430
    MH 400 310 115 25 510
    MH 500 320 120 27 600
first_pro

Club Hammer with Handle

  • club
    PROD. NO A B C WT .GMS
    GH 800 250 92 36 950
    GH 1000 260 96 38 1150
    GH 1250 260 102 42 1400
    GH 1500 260 110 44 1650
first_pro

Club Hammer without Handle

  • Machinist Hammer with Handle
    PROD. NO B C WT. GMS
    GHH 1250 102 42 1 250
first_pro

Sledge Hammer - Head Only

  • sledge hammer
    PROD. NO B C WT. GMS
    SHH 900 105 36 900
    SHH 1350 120 42 1350
    SHH 1800 133 46 1800
    SHH 2700 155 54 2700
    SHH 3600 168 58 3600
first_pro

Electrician Hammer

  • Electrician Hammer
    PROD. NO A B C WT. GMS
    SQ 15 280 140 15 250
first_pro

Soft Faced Hammer with Handle

  • Soft Faced Hammer with Handle
    PROD. NO A B C D WT.GMS
    SFH 20 272 54 -- 20 240
    SFH 25 272 90 -- 25 320
    SFH 30 272 90 -- 30 425
    SFH 40 330 122 -- 40 800
    SFH 50 330 124 -- 50 1120
first_pro

Soft Faced Hammer Spares

  • PROD. NO A B C D WT.GMS
    SFH 20 S 272 54 -- 20 240
    SFH 25 S 272 90 -- 25 320
    SFH 30 S 272 90 -- 30 425
    SFH 40 S 330 122 -- 40 800
    SFH 50 S 330 124 -- 50 1120

Portfolio